Подшипник M249747/710 (SKF)

Подшипники роликовые радиально-упорные (конические)
Подшипник M249747/710 (SKF)

Технические характеристики

Обозначение : M249747/710

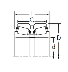
Размеры, мм : 257.175x358.775x71.438

Производитель : SKF

Диаметр внутренний, мм : 257,175

Диаметр наружный, мм : 358,775

Высота, мм : 71,438

Технические данные из каталога производителя :

Внутренний диаметр (d) - 257,175 мм.

Наружный диаметр (D) - 358,775 мм.

Ширина рабочая (T) - 71,438 мм.

Ширина (высота) (B) - 76,2 мм.

Ширина наружной обоймы (C) - 53,975 мм.

Размер (a) - 64 мм.

Размер (d1) - 303 мм.

Размер (r1 min.) - 1,5 мм.

Размер (r2 min.) - 1,5 мм.

Размер (r3 min.) - 3,3 мм.

Размер (r4 min.) - 3,3 мм.

Размер сопряженных деталей (Ca min.) - 11

Размер сопряженных деталей (Cb min.) - 17

Размер сопряженных деталей (da max) - 276

Размер сопряженных деталей (Da min) - 326

Размер сопряженных деталей (Da max.) - 343

Размер сопряженных деталей (db min) - 269

Размер сопряженных деталей (Db min.) - 343

Размер сопряженных деталей (ra max.) - 1,5

Размер сопряженных деталей (rb max.) - 3

Масса - 21,5 Кг

Грузоподъемность динамическая (C) - 842 кН

Грузоподъемность статическая (C0) - 1760 кН

Граничная нагрузка по усталости (Pu) - 156

Частота вращения номинальная - 1200 об/мин

Частота вращения предельная - 1700 об/мин

Расчетный коэффициент (e) - 0,33

Расчетный коэффициент (Y) - 1,8

Расчетный коэффициент (Y0) - 1

Количество дорожек качения - 1

Уплотнение - Нет

Цены указаны ознакомительные, для уточнения цены и наличия просим связаться с нами по телефону, или отправить заявку на почту - sales@specprompodshipnik.ru или по тел.: +7(499) 369-70-54

Возврат к списку