Подшипник M238849/10 (CX)

Подшипники роликовые радиально-упорные (конические)
Подшипник M238849/10 (CX)

Технические характеристики

Обозначение : M238849/10

Размеры, мм : 187.325x269.875x55.562

Производитель : CX

Диаметр внутренний, мм : 187,325

Диаметр наружный, мм : 269,875

Высота, мм : 55,562

Технические данные из каталога производителя :

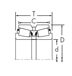
Внутренний диаметр (d) - 187,325 мм.

Наружный диаметр (D) - 269,875 мм.

Ширина рабочая (T) - 55,562 мм.

Ширина (высота) (B) - 55,562 мм.

Ширина наружной обоймы (C) - 42,862 мм.

Размер (a) - 6,1 мм.

Масса - 9,87 Кг

Грузоподъемность динамическая (C) - 508 кН

Грузоподъемность статическая (C0) - 1000 кН

Частота вращения предельная при пластичной смазке - 1700 об/мин

Частота вращения предельная при жидкой смазке - 2300 об/мин

Количество дорожек качения - 1

Уплотнение - Нет

Цены указаны ознакомительные, для уточнения цены и наличия просим связаться с нами по телефону, или отправить заявку на почту - sales@specprompodshipnik.ru или по тел.: +7(499) 369-70-54

Возврат к списку