Подшипник HR32948J (NSK)

Подшипники роликовые радиально-упорные (конические)
Подшипник HR32948J (NSK)

Технические характеристики

Обозначение : HR32948J

Размеры, мм : 240x320x51

Производитель : NSK

Диаметр внутренний, мм : 240

Диаметр наружный, мм : 320

Высота, мм : 51

Технические данные из каталога производителя :

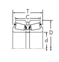
Внутренний диаметр (d) - 240 мм.

Наружный диаметр (D) - 320 мм.

Ширина рабочая (T) - 51 мм.

Ширина (высота) (B) - 51 мм.

Ширина наружной обоймы (C) - 39 мм.

Размер (a) - 65,1 мм.

Размер (r min.) - 3 мм.

Размер (r1 min.) - 2,5 мм.

Размер сопряженных деталей (da min.) - 258

Размер сопряженных деталей (Da min) - 297

Размер сопряженных деталей (Da max.) - 308

Размер сопряженных деталей (db max.) - 255

Размер сопряженных деталей (Db min.) - 314

Размер сопряженных деталей (ra max.) - 2,5

Размер сопряженных деталей (rb max.) - 2

Масса - 11,1 Кг

Грузоподъемность динамическая (C) - 500 кН

Грузоподъемность статическая (C0) - 1040 кН

Частота вращения предельная при пластичной смазке - 950 об/мин

Частота вращения предельная при жидкой смазке - 1300 об/мин

Расчетный коэффициент (e) - 0,46

Расчетный коэффициент (Y0) - 0,72

Расчетный коэффициент (Y1) - 1,3

Количество дорожек качения - 1

Уплотнение - Нет

Цены указаны ознакомительные, для уточнения цены и наличия просим связаться с нами по телефону, или отправить заявку на почту - sales@specprompodshipnik.ru или по тел.: +7(499) 369-70-54

Возврат к списку