Подшипник F15199 (Fersa)

Подшипники роликовые радиально-упорные (конические)
Подшипник F15199 (Fersa)

Технические характеристики

Обозначение : F15199

Размеры, мм : 20x52x19.25

Производитель : Fersa

Диаметр внутренний, мм : 20

Диаметр наружный, мм : 52

Высота, мм : 19,25

Технические данные из каталога производителя :

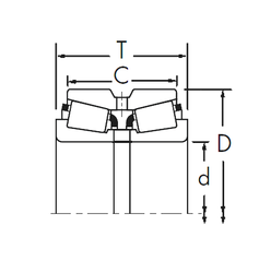
Внутренний диаметр (d) - 20 мм.

Наружный диаметр (D) - 52 мм.

Ширина рабочая (T) - 19,25 мм.

Количество дорожек качения - 1

Уплотнение - Нет

Цены указаны ознакомительные, для уточнения цены и наличия просим связаться с нами по телефону, или отправить заявку на почту - sales@specprompodshipnik.ru или по тел.: +7(499) 369-70-54

Возврат к списку