Подшипник 687/672/Q (SKF)

Подшипники роликовые радиально-упорные (конические)
Подшипник 687/672/Q (SKF)

Технические характеристики

Обозначение : 687/672/Q

Размеры, мм : 101.6x168.275x41.275

Производитель : SKF

Диаметр внутренний, мм : 101,6

Диаметр наружный, мм : 168,275

Высота, мм : 41,275

Технические данные из каталога производителя :

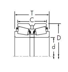
Внутренний диаметр (d) - 101,6 мм.

Наружный диаметр (D) - 168,275 мм.

Ширина рабочая (T) - 41,275 мм.

Ширина (высота) (B) - 41,275 мм.

Ширина наружной обоймы (C) - 30,162 мм.

Размер (a) - 38 мм.

Размер (d1) - 133 мм.

Размер (r1 min.) - 3,5 мм.

Размер (r2 min.) - 3,5 мм.

Размер (r3 min.) - 3,3 мм.

Размер (r4 min.) - 3,3 мм.

Размер сопряженных деталей (Ca min.) - 6

Размер сопряженных деталей (Cb min.) - 11

Размер сопряженных деталей (da max) - 114

Размер сопряженных деталей (Da min) - 143

Размер сопряженных деталей (Da max.) - 157

Размер сопряженных деталей (db min) - 113

Размер сопряженных деталей (Db min.) - 157

Размер сопряженных деталей (ra max.) - 3,3

Размер сопряженных деталей (rb max.) - 3,1

Масса - 3,45 Кг

Грузоподъемность динамическая (C) - 233 кН

Грузоподъемность статическая (C0) - 365 кН

Граничная нагрузка по усталости (Pu) - 39

Частота вращения номинальная - 2800 об/мин

Частота вращения предельная - 4000 об/мин

Расчетный коэффициент (e) - 0,48

Расчетный коэффициент (Y) - 1,25

Расчетный коэффициент (Y0) - 0,7

Количество дорожек качения - 1

Уплотнение - Нет

Цены указаны ознакомительные, для уточнения цены и наличия просим связаться с нами по телефону, или отправить заявку на почту - sales@specprompodshipnik.ru или по тел.: +7(499) 369-70-54

Возврат к списку