Подшипник 67391/67322 (SKF)

Подшипники роликовые радиально-упорные (конические)
Подшипник 67391/67322 (SKF)

Технические характеристики

Обозначение : 67391/67322

Размеры, мм : 133.35x196.85x46.038

Производитель : SKF

Диаметр внутренний, мм : 133,35

Диаметр наружный, мм : 196,85

Высота, мм : 46,038

Технические данные из каталога производителя :

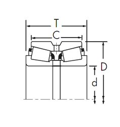
Внутренний диаметр (d) - 133,35 мм.

Наружный диаметр (D) - 196,85 мм.

Ширина рабочая (T) - 46,038 мм.

Ширина (высота) (B) - 46,038 мм.

Ширина наружной обоймы (C) - 38,1 мм.

Размер (a) - 39 мм.

Размер (d1) - 164 мм.

Размер (r1 min.) - 8 мм.

Размер (r2 min.) - 8 мм.

Размер (r3 min.) - 3,3 мм.

Размер (r4 min.) - 3,3 мм.

Размер сопряженных деталей (Ca min.) - 7

Размер сопряженных деталей (Cb min.) - 7,5

Размер сопряженных деталей (da max) - 146

Размер сопряженных деталей (Da min) - 177

Размер сопряженных деталей (Da max.) - 185

Размер сопряженных деталей (db min) - 161

Размер сопряженных деталей (Db min.) - 189

Размер сопряженных деталей (ra max.) - 7

Размер сопряженных деталей (rb max.) - 3,1

Масса - 4,65 Кг

Грузоподъемность динамическая (C) - 319 кН

Грузоподъемность статическая (C0) - 585 кН

Граничная нагрузка по усталости (Pu) - 60

Частота вращения номинальная - 2200 об/мин

Частота вращения предельная - 3400 об/мин

Расчетный коэффициент (e) - 0,35

Расчетный коэффициент (Y) - 1,7

Расчетный коэффициент (Y0) - 0,9

Количество дорожек качения - 1

Уплотнение - Нет

Цены указаны ознакомительные, для уточнения цены и наличия просим связаться с нами по телефону, или отправить заявку на почту - sales@specprompodshipnik.ru или по тел.: +7(499) 369-70-54

Возврат к списку