Подшипник 42687/42620 (SKF)

Подшипники роликовые радиально-упорные (конические)
Подшипник 42687/42620 (SKF)

Технические характеристики

Обозначение : 42687/42620

Размеры, мм : 76.2x127x30.163

Производитель : SKF

Диаметр внутренний, мм : 76,2

Диаметр наружный, мм : 127

Высота, мм : 30,163

Технические данные из каталога производителя :

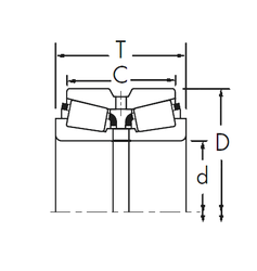
Внутренний диаметр (d) - 76,2 мм.

Наружный диаметр (D) - 127 мм.

Ширина рабочая (T) - 30,163 мм.

Ширина (высота) (B) - 31 мм.

Ширина наружной обоймы (C) - 22,225 мм.

Размер (a) - 27 мм.

Размер (d1) - 101 мм.

Размер (r1 min.) - 3,5 мм.

Размер (r2 min.) - 3,5 мм.

Размер (r3 min.) - 3,3 мм.

Размер (r4 min.) - 3,3 мм.

Размер сопряженных деталей (Ca min.) - 5

Размер сопряженных деталей (Cb min.) - 7,5

Размер сопряженных деталей (da max) - 88

Размер сопряженных деталей (Da min) - 112

Размер сопряженных деталей (Da max.) - 114

Размер сопряженных деталей (db min) - 89,5

Размер сопряженных деталей (Db min.) - 120

Размер сопряженных деталей (ra max.) - 3,3

Размер сопряженных деталей (rb max.) - 3,1

Масса - 1,45 Кг

Грузоподъемность динамическая (C) - 138 кН

Грузоподъемность статическая (C0) - 204 кН

Граничная нагрузка по усталости (Pu) - 24

Частота вращения номинальная - 3800 об/мин

Частота вращения предельная - 5300 об/мин

Расчетный коэффициент (e) - 0,43

Расчетный коэффициент (Y) - 1,4

Расчетный коэффициент (Y0) - 0,8

Количество дорожек качения - 1

Уплотнение - Нет

Цены указаны ознакомительные, для уточнения цены и наличия просим связаться с нами по телефону, или отправить заявку на почту - sales@specprompodshipnik.ru или по тел.: +7(499) 369-70-54

Возврат к списку