Подшипник 32206 A (CX)

Подшипники роликовые радиально-упорные (конические)
Подшипник 32206 A (CX)

Технические характеристики

Обозначение : 32206 A

Размеры, мм : 30x62x21.25

Производитель : CX

Диаметр внутренний, мм : 30

Диаметр наружный, мм : 62

Высота, мм : 21,25

Технические данные из каталога производителя :

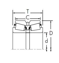
Внутренний диаметр (d) - 30 мм.

Наружный диаметр (D) - 62 мм.

Ширина рабочая (T) - 21,25 мм.

Ширина (высота) (B) - 20 мм.

Ширина наружной обоймы (C) - 17 мм.

Размер (a) - 15 мм.

Масса - 0,28 Кг

Грузоподъемность динамическая (C) - 50,1 кН

Грузоподъемность статическая (C0) - 57 кН

Частота вращения предельная при пластичной смазке - 6300 об/мин

Частота вращения предельная при жидкой смазке - 8500 об/мин

Количество дорожек качения - 1

Уплотнение - Нет

Цены указаны ознакомительные, для уточнения цены и наличия просим связаться с нами по телефону, или отправить заявку на почту - sales@specprompodshipnik.ru или по тел.: +7(499) 369-70-54

Возврат к списку