Подшипник 25KW01 (NSK)

Подшипники роликовые радиально-упорные (конические)
Подшипник 25KW01 (NSK)

Технические характеристики

Обозначение : 25KW01

Размеры, мм : 25x47x15

Производитель : NSK

Диаметр внутренний, мм : 25

Диаметр наружный, мм : 47

Высота, мм : 15

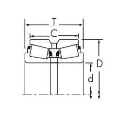
Технические данные из каталога производителя :

Внутренний диаметр (d) - 25 мм.

Наружный диаметр (D) - 47 мм.

Ширина рабочая (T) - 15 мм.

Ширина (высота) (B) - 15 мм.

Ширина наружной обоймы (C) - 11,5 мм.

Радиус внутренней фаски (R) - 3,5 мм.

Радиус наружней фаски (r) - 0,6 мм.

Количество дорожек качения - 1

Уплотнение - Нет

Цены указаны ознакомительные, для уточнения цены и наличия просим связаться с нами по телефону, или отправить заявку на почту - sales@specprompodshipnik.ru или по тел.: +7(499) 369-70-54

Возврат к списку