Подшипник 25577/2/25523/2/Q (SKF)

Подшипники роликовые радиально-упорные (конические)
Подшипник 25577/2/25523/2/Q (SKF)

Технические характеристики

Обозначение : 25577/2/25523/2/Q

Размеры, мм : 42.875x83.058x26.998

Производитель : SKF

Диаметр внутренний, мм : 42,875

Диаметр наружный, мм : 83,058

Высота, мм : 26,998

Технические данные из каталога производителя :

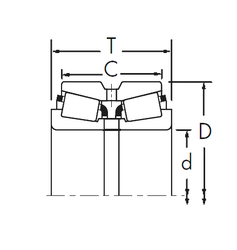
Внутренний диаметр (d) - 42,875 мм.

Наружный диаметр (D) - 83,058 мм.

Ширина рабочая (T) - 26,998 мм.

Ширина (высота) (B) - 25,4 мм.

Ширина наружной обоймы (C) - 22,225 мм.

Размер (a) - 20 мм.

Размер (d1) - 62,1 мм.

Размер (r1 min.) - 3,5 мм.

Размер (r2 min.) - 3,5 мм.

Размер (r3 min.) - 2,3 мм.

Размер (r4 min.) - 2,3 мм.

Размер сопряженных деталей (Ca min.) - 3

Размер сопряженных деталей (Cb min.) - 4,5

Размер сопряженных деталей (da max) - 53

Размер сопряженных деталей (Da min) - 70

Размер сопряженных деталей (Da max.) - 74

Размер сопряженных деталей (db min) - 54

Размер сопряженных деталей (Db min.) - 76

Размер сопряженных деталей (ra max.) - 3,3

Размер сопряженных деталей (rb max.) - 2,3

Масса - 0,57 Кг

Грузоподъемность динамическая (C) - 80,9 кН

Грузоподъемность статическая (C0) - 106 кН

Граничная нагрузка по усталости (Pu) - 11,8

Частота вращения номинальная - 6000 об/мин

Частота вращения предельная - 9000 об/мин

Расчетный коэффициент (e) - 0,33

Расчетный коэффициент (Y) - 1,8

Расчетный коэффициент (Y0) - 1

Количество дорожек качения - 1

Уплотнение - Нет

Цены указаны ознакомительные, для уточнения цены и наличия просим связаться с нами по телефону, или отправить заявку на почту - sales@specprompodshipnik.ru или по тел.: +7(499) 369-70-54

Возврат к списку