Подшипник 32624ЛM

Подшипник 32624ЛM

Технические характеристики

Обозначение : 32624ЛM

Производитель : EPK

Диаметр внутренний, мм : 120

Диаметр наружный, мм : 260

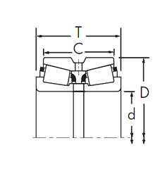
Технические данные из каталога производителя :

Внутренний диаметр (d) - 120 мм.

Внутренний диаметр (F) - 154 мм.

Наружный диаметр (D) - 260 мм.

Ширина (высота) (B) - 86 мм.

Ширина наружной обоймы (C) - 86 мм.

Размер (r1 min.) - 3,0 мм.

Размер (r2 min.) - 3,0 мм.

Размер (r3 min.) - 3,0 мм.

Размер (r4 min.) - 3,0 мм.

Размер (D1) - 212,6 мм.

Масса - 23,700 Кг

Грузоподъемность динамическая (C) - 792 кН

Грузоподъемность статическая (C0) - 1040 кН

Частота вращения предельная при пластичной смазке - 1900 об/мин

Частота вращения предельная при жидкой смазке - 2400 об/мин

Количество дорожек качения - 1

Уплотнение - Нет

Цены указаны ознакомительные, для уточнения цены и наличия просим связаться с нами по телефону, или отправить заявку на почту - sales@specprompodshipnik.ru или по тел.: +7(499) 369-70-54

Возврат к списку