Подшипник 32615AM

Подшипник 32615AM

Технические характеристики

Обозначение : 32615AM

Производитель : EPK

Диаметр внутренний, мм : 75

Диаметр наружный, мм : 160

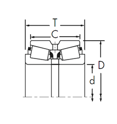
Технические данные из каталога производителя :

Внутренний диаметр (d) - 75 мм.

Внутренний диаметр (F) - 95 мм.

Наружный диаметр (D) - 160 мм.

Ширина (высота) (B) - 55 мм.

Ширина наружной обоймы (C) - 55 мм.

Размер (r1 min.) - 2,1 мм.

Размер (r2 min.) - 2,1 мм.

Размер (r3 min.) - 2,1 мм.

Размер (r4 min.) - 2,1 мм.

Размер (D1) - 134,5 мм.

Масса - 5,719 Кг

Грузоподъемность динамическая (C) - 330 кН

Грузоподъемность статическая (C0) - 400 кН

Частота вращения предельная при пластичной смазке - 3400 об/мин

Частота вращения предельная при жидкой смазке - 4000 об/мин

Количество дорожек качения - 1

Уплотнение - Нет

Цены указаны ознакомительные, для уточнения цены и наличия просим связаться с нами по телефону, или отправить заявку на почту - sales@specprompodshipnik.ru или по тел.: +7(499) 369-70-54

Возврат к списку