Подшипник 32312M

Подшипник 32312M

Технические характеристики

Обозначение : 32312M

Производитель : EPK

Диаметр внутренний, мм : 60

Диаметр наружный, мм : 130

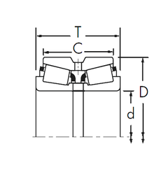
Технические данные из каталога производителя :

Внутренний диаметр (d) - 60 мм.

Внутренний диаметр (F) - 77 мм.

Наружный диаметр (D) - 130 мм.

Ширина (высота) (B) - 31 мм.

Ширина наружной обоймы (C) - 31 мм.

Размер (r1 min.) - 2,1 мм.

Размер (r2 min.) - 2,1 мм.

Размер (r3 min.) - 2,1 мм.

Размер (r4 min.) - 2,1 мм.

Размер (D1) - 106,5 мм.

Масса - 2,150 Кг

Грузоподъемность динамическая (C) - 151 кН

Грузоподъемность статическая (C0) - 160 кН

Частота вращения предельная при пластичной смазке - 4300 об/мин

Частота вращения предельная при жидкой смазке - 5000 об/мин

Количество дорожек качения - 1

Уплотнение - Нет

Цены указаны ознакомительные, для уточнения цены и наличия просим связаться с нами по телефону, или отправить заявку на почту - sales@specprompodshipnik.ru или по тел.: +7(499) 369-70-54

Возврат к списку